The Plate Panel system provides a strong, concealed-fastener facade solution designed specifically for Zahner’s unique materials. It includes factory-attached mounting studs compatible with standard hardware. Plate Panel blends the aesthetic appeal and durability of Zahner materials with straightforward and adjustable installation techniques for a seamless and continuous finish.
Benefits

Large Panels
This system supports large panel sizes, which means fewer joints and a cleaner aesthetic. Additionally, it improves material yield and reduces waste, making it an efficient choice for large-scale projects.
Concealed Hardware
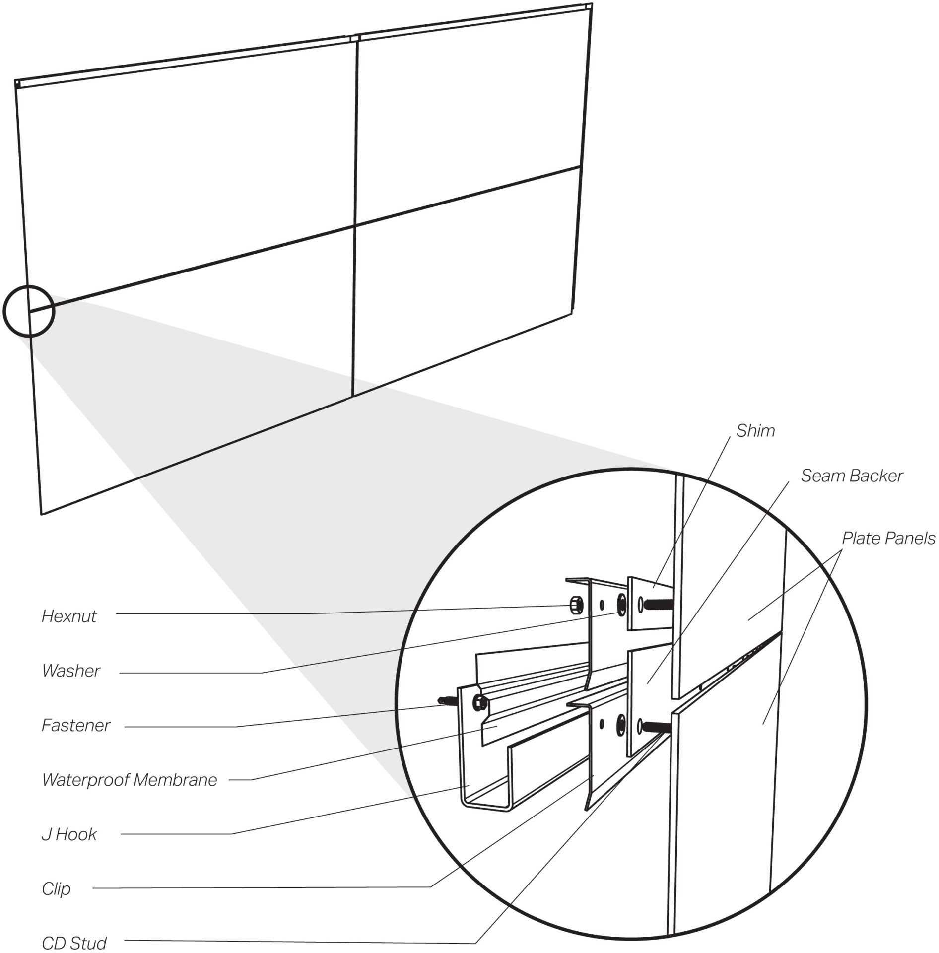
The system is designed with hidden fasteners, resulting in a sleek and uninterrupted surface, enhancing the overall visual appeal of the facade without compromising structural integrity.


Efficient Execution
Familiar detailing reduces the engineering effort required, saving both time and costs during the design and installation phases.
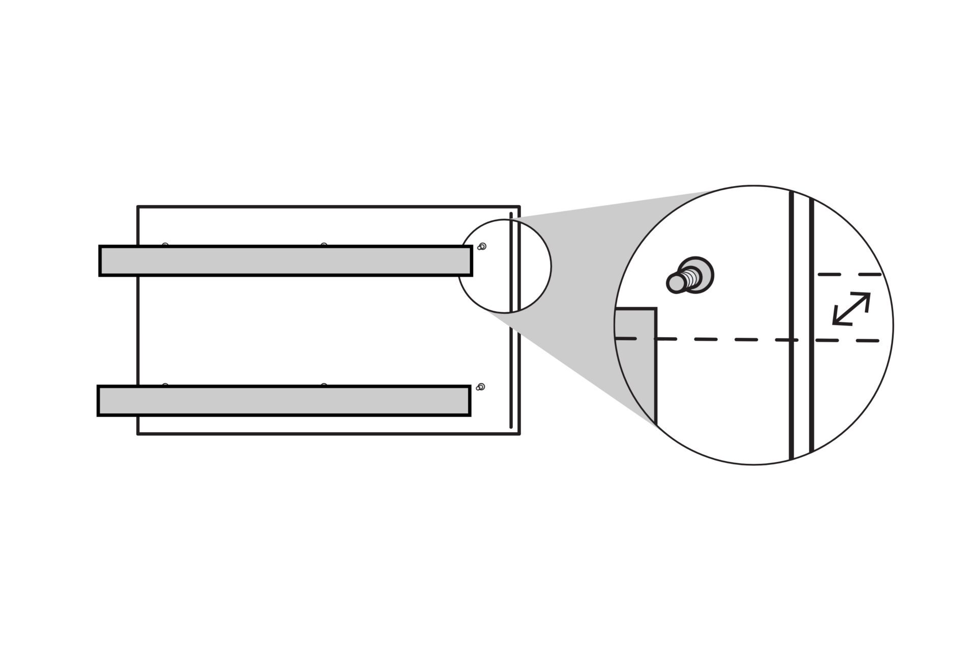
Installation Tolerance
The factory-attached hardware used in this system allows for out of plane tolerance, ensuring that the system remains flat and smooth even if there are minor imperfections in the substrate.

Components & Assembly
Plate Panel is composed of sturdy metal panels with hidden welded studs that attach to a variety of standard hardware.
